37.5kVA Single Phase Oil Immersed Pole Mounted Distribution Transformer

Customization: Available
Application: Power, Electronic
Phase: Single

Product Description

📋 Basic Information
Model NO.
NB
Core
Core-type Transformer
Cooling Method
Oil-immersed Type
Winding Type
Two-winding Transformer
Certification
ISO9001
Usage
Single-phase, Power, Distribution
Frequency
60Hz / High Frequency
Rated H.V.
34.5/13.2/13.8/12.47/14.4/15/7.62/7.2kv
Low Voltage
0.4kVA
Winding Material
Cooper/Aluminum
Enclosure
IP20/IP23
Transport Package
Wooden Box
📊 Product Parameters
Rated Power (KVA) High Voltage (KV) Low Voltage (V) Loss (W)
No-load Loss On-load Loss
10KVA24.94/14.4kV
12.47/7.2kV
34.5KV
13.8KV
13.2KV
120/240V
480Y/277V
600Y/347V
36120
15KVA50195
25KVA80290
37.5KVA105360
50KVA135500
75KVA190650
100KVA210850
📝 Product Description

Overhead Installation Single Phase Pole Mounted Transformer (10kva - 333kva)

Single phase pole-mounted transformers are designed for power ratings up to 333 kVA with high voltage up to 34.5 kV. These units are tested in accordance with ANSI/CSA, IEEE c.57, and IEC60076 standards.

Commonly mounted on wooden or concrete poles, they are ideal for residential overhead distribution and light commercial loads. Available in conventional and CSP types.

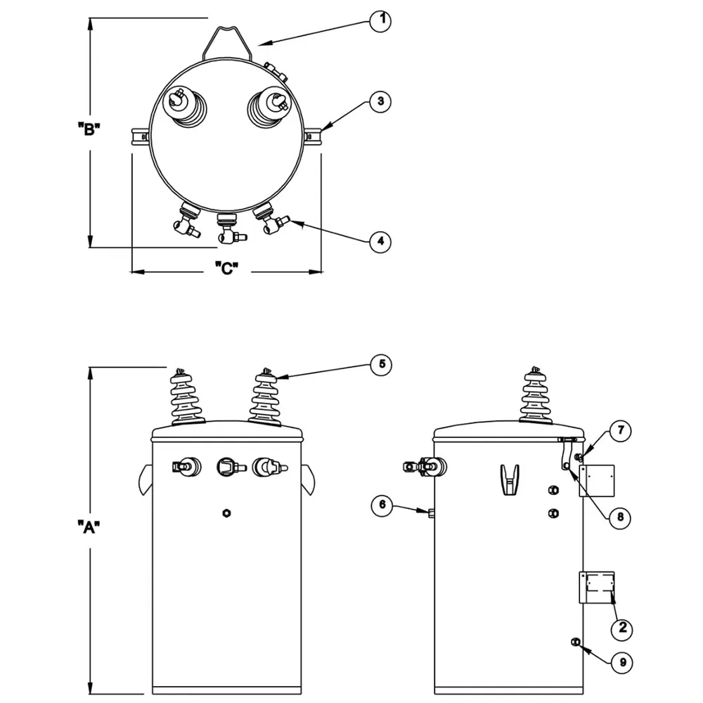
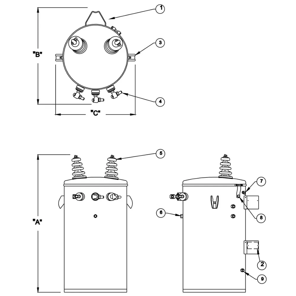
Single Phase Pole Mounted Transformer
Transformer Detail
  • Fully sealed and insulated; safe and reliable.
  • Low loss, low noise, and strong overload capacity.
  • Optional equipment: load switch, bayonet fuse, current limiting fuse, oil level gauge, pressure relief valve, and surge arrestors.
Product Dimensions
🚇 Main Product & Installation
Transformer Unit 1
Transformer Unit 2
Product Range
On-site Installation
🏭 Manufacturing Excellence

We are an intelligent technology enterprise engaged in R&D, manufacturing, and sales of power transformers, high and low voltage switch cabinets, and box-type substations. Our facility covers nearly 100,000 square meters and employs over 300 personnel, including specialized engineers and technical experts.

Utilizing advanced domestic technology and testing equipment, we adhere to ISO9000 quality certification standards. Our computer-aided designs provide environmentally friendly, energy-saving, and high-quality products tailored to regional market requirements.

Factory Exterior
Production Line
Workshop Equipment
Frequently Asked Questions
What are your terms of packing?
Generally, we pack our goods in neutral white boxes and brown cartons. For specialized orders, we use reinforced wooden boxes suitable for international shipping.
What are your terms of payment?
T/T 30% as deposit, and 70% before delivery. We will provide photos of the products and packages before you pay the balance.
What are your terms of delivery?
We offer various delivery terms including EXW, FOB, CFR, CIF, and DDU to meet your logistics needs.
How about your delivery time?
Generally, it takes 3 to 10 days after receiving your advance payment. The specific time depends on the items and the quantity of your order.
Can you produce according to samples?
Yes, we can produce based on your samples or technical drawings. We have the capability to build custom molds and fixtures.
Do you test all goods before delivery?
Yes, we perform 100% testing on all products before delivery to ensure the highest quality and safety standards.

Related Products